LED hole/groove/inner surface inspection magnifying glass
Boa Loupe-ST
Boa Loupe-ST
In stock
この商品は出荷までに5~7営業日ほどかかる場合があります。
Couldn't load pickup availability
■Product features
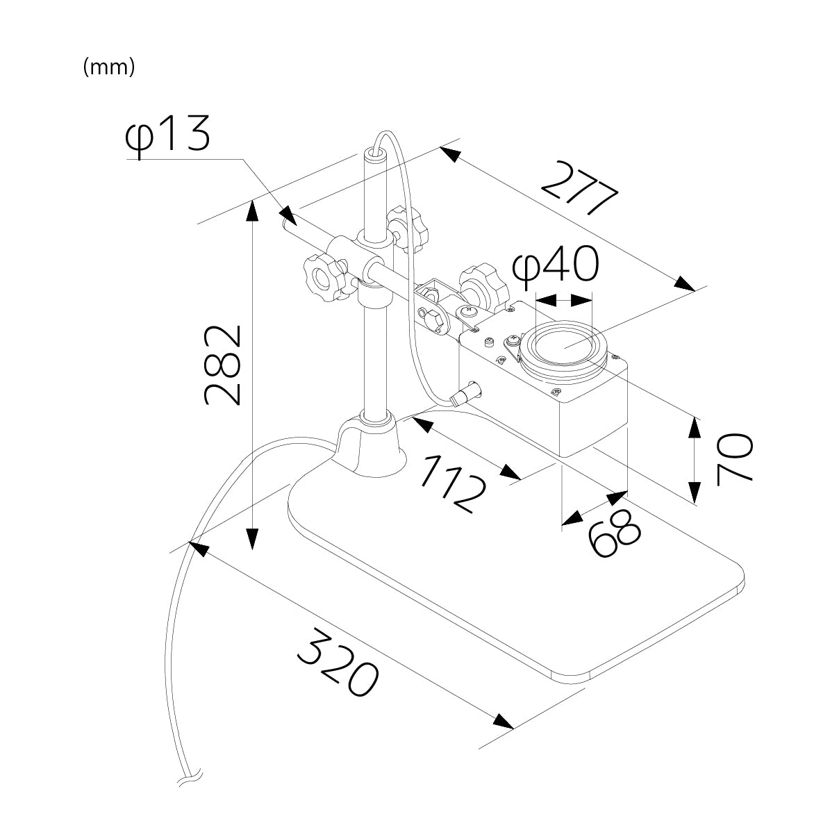
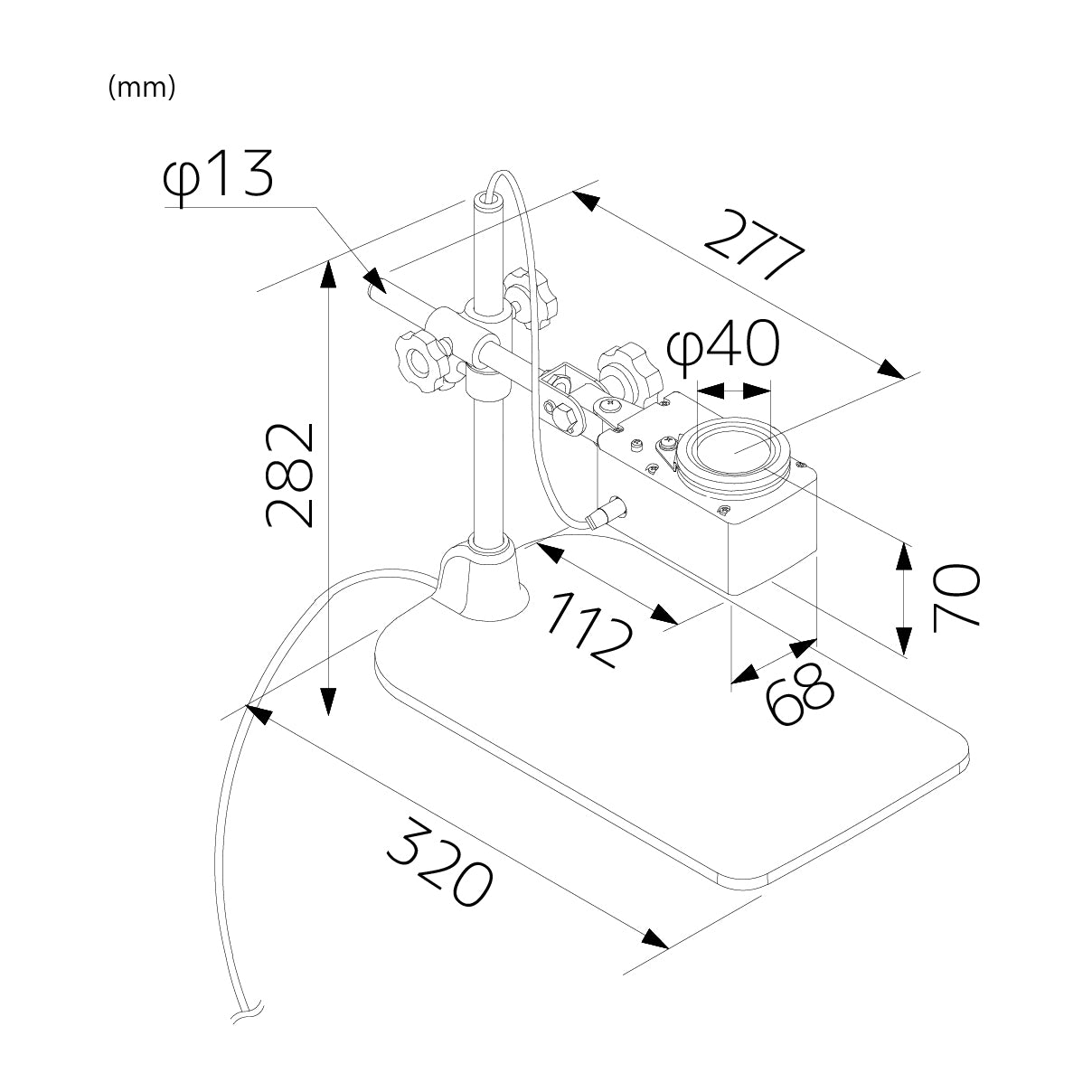
・This product was developed to inspect the inside and bottom surfaces of "small diameter holes", "blind holes", and "deep grooves" that are difficult to inspect.The ST type uses a long bar type, and supports and horizontal bars can be moved in the XY direction. The long horizontal bar allows for limited free-arm use.
・By using coaxial lighting, the human line of sight and the optical axis of the lighting are the same, making it possible to inspect inside holes where light cannot reach.
- Equipped with a switchable lens with 2x/3x magnification as standard, and uses LED as the light source.
・Options include a "Polarizing Filter" for inspecting mirror-like workpieces, "Bore Loupe-PUL" for increasing magnification, and "Working Distance Extender WDE-B" for extending the working distance to inspect inside longer holes. We have it ready.
*All options are attached to a 3x lens.
■Product name
LED hole/groove/inner surface inspection magnifying glass
■Model name
Bore loupe - ST type (long bar type)
■Product specifications
lens | |
---|---|
Magnification lineup | 2x, 3x |
Lens effective diameter (mm) | Φ40 |
Lens material | optical glass |
Working distance (mm) | 2x/147 3x/55 |
Lens method | Switchable |
AR (anti-reflection) coated lens lineup | none |
lighting | |
light source | white LED |
input voltage | 100-240V, 50/60Hz, A plug (with AC adapter) |
power consumption | 1.2W |
Dimming function | none |
Main body | |
Product weight (kg) | 1.3 |
Overall height (mm) | 350 |
Horizontal bar length (mm) | 440 |
Horizontal bar/pillar diameter (mm) | Φ13/Φ16 |
Head dimensions (mm) | 112X68X70H |
Clampable width (mm) | 15~60 |
Operating temperature limit | 0℃~35℃ |
Dustproof/waterproof protection grade | IP30 |
- 製品によってはご購入前にお試し頂けます。→デモ機のご依頼(自社HP内)
- 交換レンズシステムを採用してる製品の場合、画像は代表的なレンズをはめ込んでいるものです。
- 一配送先につき、合計30,000円(税込)以上のお買い上げの場合は送料無料とさせていただいております。
Share


